Disclaimer: The information on this page has not been checked by an independent person.   Use this information at your own risk.
ROYMECHX clone of ROYMECH

Click arrows to page adverts

Home
Machine_Parts_Index
Mechanism general notes

Rocking , Oscillating Mechanisms

Swinging / Rocking Mechanisms

This type of mechanism produces a swinging or rocking motion of a link.   The motion is generally less than 360o and is an oscillatory motion.




Toothed Rack System

This is simply a rotating arm (b) with a link fitted with a toothed rack (c) which meshes with a gear (d) to produce a rocking motion of the gear.




Toothed Rack System


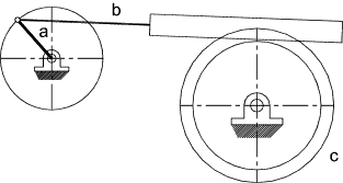
Crank and Rocker Mechanism

This is simply a four bar linkage (the frame provides the first link).   The operating characteristics are dependent on the length of the links and the design of the frame setting the pivot points..Rotation of the arm (b) produces a rocking motion of arm (d).


Crank and Rocker Mechanism


Quick Return linkage

The arm (b) rotates and results in a rocking motion of arm (d)via the slider (c).    The action is a quick return action because the angle (b) rotates through in one direction ,assumed to be the forward direction, is greater than the angle which result in the return motion.



Quick Return Linkage


Cam and Follower Mechanism

A very simplified version on this system is shown below.  Rotation of the cam (c) produces a rocking motion of the lever (d) via the sliding interface (b).    The arrangement below only identifies the principle involved.  In practice some means would have to be provided to ensure the lever is maintained in contact with the lever.


Cam and Follower Mechanism



Links to Rocking Mechanism Design
  1. Index to mechanism -Java applets Various applets providing animations of different mechanisms
  2. Mechanisms ..A site with lots of useful moving graphics for simple mechanisms
  3. Introduction to Mechanisms ..Lots of very useful reference notes


This Page is being developed

Home
Machine_Parts_Index
Mechanism general notes

Send Comments to Roy Beardmore

Last Updated 23/01/2013