| Disclaimer: The information on this page has not been checked by an independent person. Use this information at your own risk. |
Click arrows to page adverts
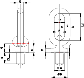
Eyebolt with Link To BS4278 Table 2

NOTES: All information on this page is for guidance only: For actual lifting capacities, dimensions and safe use requirements refer to the standards indicated and be advised by the equipment suppliers. The safe working loads is for axial lifts only. For lifts not in line with axes of eyebolt the SWL has to be reduced. Please refer to BS4278
| Safe Working Load | Metric Thread | B | C | D | E | F | G | H | J | K | L | M | Link | ||
| tonnes | dia | mm | mm | mm | mm | mm | mm | mm | mm | mm | mm | mm | d(mm) | Bd (mm) | Ld(mm) |
| 1.0 | 20 | 39 | 24 | 9 | 15 | 12 | 20 | 27 | 1 | 4 | 14 | 12 | 13 | 24 | 53 |
| 1.6 | 24 | 47 | 29 | 11 | 18 | 14 | 23 | 32 | 1 | 5 | 16 | 14 | 15 | 29 | 63 |
| 2.5 | 30 | 60 | 37 | 14 | 23 | 18 | 30 | 41 | 2 | 6 | 21 | 18 | 19 | 37 | 80 |
| 4.0 | 36 | 75 | 46 | 17 | 29 | 23 | 38 | 52 | 2 | 7 | 26 | 23 | 24 | 46 | 102 |
| 6.3 | 48 | 94 | 58 | 22 | 36 | 29 | 47 | 65 | 3 | 9 | 32 | 29 | 30 | 58 | 126 |
Send Comments to Roy Beardmore
Last Updated 25/01/2013