| Disclaimer: The information on this page has not been checked by an independent person. Use this information at your own risk. |
Click arrows to page adverts
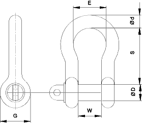
Large Bow Shackle to BS 3032 and BS6994:1988
![]() |
BS3032 is withdrawn and is actually in imperial dimensions. The table below includes approx conversions and must be only used for general guidance. For accurate dimensions and guidance of the actual lifting capacity and usage it is necesary to refer to BS 3032.
| Safe Working Load | d | D | W | E | S | G | Net Weight |
| tonnes | mm | mm | mm | mm | mm | mm | kg |
| 0.15 | 6 | 10 | 13 | 19 | 29 | 19 | 0.11 |
| 0.45 | 10 | 12 | 16 | 25 | 41 | 25 | 0.17 |
| 0.75 | 12 | 16 | 22 | 32 | 54 | 32 | 0.35 |
| 1.25 | 16 | 20 | 29 | 41 | 70 | 38 | 0.66 |
| 2.0 | 20 | 22 | 35 | 51 | 86 | 44 | 1.02 |
| 2.75 | 22 | 25 | 41 | 57 | 98 | 51 | 1.57 |
| 3.75 | 25 | 28 | 44 | 64 | 108 | 55 | 2.3 |
| 4.75 | 28 | 32 | 51 | 73 | 124 | 64 | 3.2 |
| 5.75 | 32 | 35 | 57 | 83 | 137 | 70 | 4.3 |
| 8.5 | 38 | 44 | 70 | 98 | 168 | 89 | 6.8 |
| 11.5 | 45 | 51 | 86 | 121 | 206 | 102 | 11.0 |
| 15 | 50 | 57 | 98 | 140 | 238 | 114 | 20.0 |
This table below is for guidance only. For the actual lifting capacity,detailed dimensions and useage refer to BS 6994
| WWL | d | W | s | D | G | E |
| tonnes | mm | mm | mm | mm | mm | mm |
| 0.8 | 10.5 | 18 | 47 | 14 | 28 | 28 |
| 1.25 | 13 | 21 | 59 | 16 | 32 | 34 |
| 2.0 | 16.5 | 30 | 74 | 20 | 40 | 44 |
| 3.2 | 20 | 36 | 92 | 24 | 48 | 50 |
| 4.0 | 22.5 | 41 | 104 | 27 | 54 | 57 |
| 5.0 | 25.5 | 48 | 119 | 30 | 60 | 67 |
| 6.3 | 28.5 | 52 | 131 | 33 | 66 | 74 |
| 8.0 | 32 | 59 | 146 | 36 | 72 | 83 |
| 10.0 | 36.5 | 66 | 164 | 42 | 84 | 97 |
| 12.5 | 42 | 72 | 185 | 48 | 96 | 109 |
| 16.0 | 45 | 83 | 207 | 52 | 104 | 115 |
| 20 | 51 | 94 | 234 | 59 | 118 | 135 |
| 32 | 64 | 118 | 293 | 75 | 150 | 166 |
| 40 | 71.5 | 132 | 328 | 83 | 166 | 185 |
| 50 | 85 | 152 | 382 | 91 | 182 | 226 |
| 63 | 95 | 170 | 427 | 102 | 204 | 253 |
| 80 | 105 | 191 | 472 | 116 | 232 | 280 |
Please Send Comments to Roy Beardmore
Last Updated 25/01/2013